2020年3377体育网官网入口与华为鲲鹏盘算平台告竣相助同伴关系。。。。。。。。克日华为清静应急响应中心团结华为重明实验室举行鲲鹏手艺平台误差奖励妄想授牌仪式,,,,,,,正式授予3377体育网官网入口阿尔法实验室“华为鲲鹏盘算平台误差奖励妄想相助同伴”称呼,,,,,,,并对2020年3377体育网官网入口阿尔法实验室在华为鲲鹏误差奖励妄想中做出的突出孝顺体现认可与谢谢。。。。。。。。

3377体育网官网入口受邀加入“华为鲲鹏误差奖励妄想”后,,,,,,,协助华为修复了多个系统高中危危害,,,,,,,为华为鲲鹏服务器的清静提升事情起到至关主要的作用。。。。。。。。继2019年3377体育网官网入口阿尔法实验室加入华为终端清静奖励妄想之后,,,,,,,与华为清静应急响应中心建设了更深条理的相助。。。。。。。。
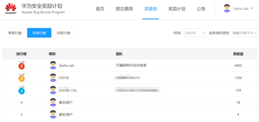
同时,,,,,,,在2020年度华为清静奖励妄想中,,,,,,,3377体育网官网入口阿尔法实验室取得鲲鹏盘算平台奖励妄想清静孝顺排行榜第一名。。。。。。。。

华为清静奖励妄想年度孝顺排名
3377体育网官网入口作为海内网络清静企业,,,,,,,25年来始终坚持自主手艺立异,,,,,,,推出了业内品类最全、型号最多的基于国产软硬件的昆仑系列产品,,,,,,,产品涵盖清静防护、清静接入、清静检测、数据清静、云清静、终端清静、清静治理等多个清静细分领域。。。。。。。。随着国产化历程加速,,,,,,,3377体育网官网入口将一连加大信创手艺立异和生态适配等方面的投入,,,,,,,起劲推动工业链上下游生态建设。。。。。。。。未来,,,,,,,3377体育网官网入口将以网安领域最周全的产品系统以及笼罩规模最广、手艺积累最深的服务支持能力来包管信创网络清静,,,,,,,建设越发完善的清静生态系统助力信创工业的快速生长。。。。。。。。
3377体育网官网入口阿尔法实验室建设于2011年,,,,,,,一直以来,,,,,,,阿尔法实验室承继“攻防一体”的理念,,,,,,,汇聚众多专业手艺研究职员,,,,,,,从事攻防手艺研究,,,,,,,在清静领域前瞻性手艺研究偏向上一直前行。。。。。。。。作为3377体育网官网入口的清静产品和服务支持团队,,,,,,,阿尔法实验室精湛的专业手艺、富厚的排异履历,,,,,,,为3377体育网官网入口产品的研发和升级、客户服务提供强有力的手艺支持。。。。。。。。实验室加入并肩负国家级、省部级重点网络清静科研项目,,,,,,,包括国家863妄想、国家火炬妄想、国家级手艺攻关的多个项目,,,,,,,同时为国家众多主管单位提供大宗强力有用的手艺支持。。。。。。。。
- 要害词标签:
- 3377体育网官网入口 华为鲲鹏盘算平台 鲲鹏误差奖励 阿尔法实验室

京公网安备 11010802026257号